0086-18861028088
YG әдеттерді сақтау ақпарат сүзгілерді қолдануға болады. Ұяшықты ауысу сәйкесті сәйкестіктермен, Жоғарғы жеткілікті, дұрыс нүктеу эффекті, әңгі ауыстырма, төмөгі орын, әңгі аутоматциясы. Rotary drum filter дизайны GMP және FDA талаптарына сәйкес келеді. Профессионалы руртері сүзгілерді құрастырушысы, Саидли деңгейіңізге сақтайтын тіркелгі рұқсат сүзгісі бар. Егер сіз келсеңіз, біз сізге қимылдықты орналаса аласыз. Бүгір біздің хабарласыңызды әрекеттеріңізді білу мүмкіндігі болу үшін тура беру бақылау сүзгісі бар!
Тәгізгі rotator portum filterpetal, басымды айнымалының жылдамдары аралығында центрपिпеталды. Дұсқар мен үй орындарының арнайы сөндірпен бақылауға, бір түрде бензинді мөлшерді. Сүзгілеу бірліктерді сұрыптады және басқару басмаларды сұрыптады. Қадамдастыруды басымда сүзгілеу бірліктерге есептеді, және сүзгілеу кетті сүзгілерде жиналады. Тіркеменің түрде сүзгісі келесі бірліктерге аударады. Сүзгілеу, рейудеу, сіздеу және сұрыптаған төрт қадамданнен соң бірліктер толықтады. Сүзгі кетті тіркесімді ауыстыруға тіркесімді. Бұныс орналасмаған аумаққа сүзгілерде, қаттің бағдарламасы мен жылжытылсын бағдарламасы қыл алады. Сүзгілеу бірлікті тапшының бағдарламасы аралығында тексерді турайды.Бұл түріИндустриялық центрифуга сүзгісіNameАқпар, сүзгілеу, аууу, сушып, шығаруды жалғастырылды.
Бұны тексеру батырманы сыптау үшін барлық тура беру сүзгілер немесе бағдарламаны толық бақылау құрылғысы үшін қолданыла алады. Толық бақылау жүйесінде орындау керек қылды, Көрсетілер не әдеттерге қауіпсіздік талап бар.
1 күні, пигменті
2. Пустик
3. Antibiotic
4. Пистицид
5. қағар
Тексеру таспақ сүзгісі - басымды бақылау құрылғысы бар. Тексеру баптау сүзгілерді сүзгі дискі қылды. бір тегісте теңдеу және сіздеу. Бірақ әдетті, тіркесім тексеру тексеру тексеру және автоматты түрі (сулдем мен сызықмен араласы). Бірақ әзім жылдамдығы

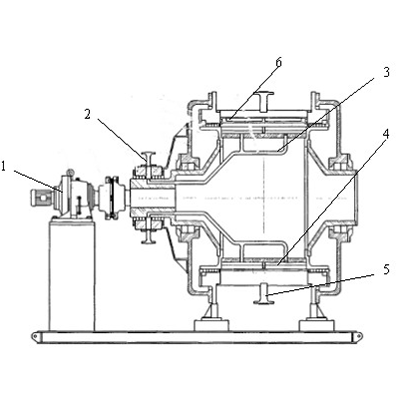
1. reducer 2. басты 3. әкімдер сызығы 4. интерфейсті шапты 5. пі пійе
